
Interruttore di livello Magnetrol

Specificazioni:
1.Volt di commutazione:250 VAC
2.Corrente di commutazione: 0.7~2A
3.Contatto:NO/NC
4.Max.Pressione:30 kg/cm²SUS/5 kg/cm²PVC, PVDF, PP
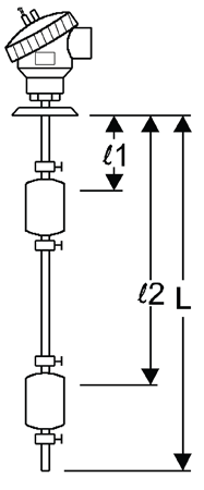
5.Max.Lunghezza:5 M
6.Intervallo di temperatura:120°C SUS, PVDF/80°C PP, PVC
7..Materiale del corpo:SUS304/SUS316
8.Collegamento:Flangia/Filetto
Interruttore di livello a galleggiante (galleggiante) è costituito da una unità magnetica galleggiante gambo con reed magnetico.Il galleggiante si muove magnetiche con livello del liquido per azionare un interruttore magnetico chiuso ermeticamente all'interno dell'unità staminali.Interruttori ad un punto in più di materiale di solito vengono utilizzati per le navi ad alta o bassa di allarme.Multi-interruttori di livello di punti possono essere progettati secondo i requisiti dei clienti.Il generale-scopo interruttore di livello a galleggiante di alta temperatura è la scelta ideale per l'acqua relativamente pulita, chimico diluito o petrolio.
Lineamenti:
1.Buon aspetto e un design intelligente
2.Attacco a flangia o filetto opzionale
3.Alta temperatura
4.Gli interruttori sono testati prima della spedizione
5.Selettore di modalità N. C. o N. O. è selezionabile
6.Varietà di dimensioni sfera galleggiante è selezionabile per la massima compatibilità con i media
7.Capovolgendo il galleggiante di 180 gradi, il contatto di commutazione può essere modificato da NC a NA
8.La temperatura e il livello di interruttore di combinazione, filettature di montaggio possono essere selezionabili, se richiesta personalizzata.
9.4~20mA è opzionale.
- Casa -> Prodotti -> Interruttore di livello a galleggiante magnetico : DL101
- Casa -> Prodotti -> Interruttore di livello Magnetrol : DL102
- Casa -> Prodotti -> Interruttore galleggiante meccanico : DL103
- Casa -> Prodotti -> Interruttore a galleggiante magnetico : DL104
- Casa -> Prodotti -> Interruttori a galleggiante Magnetic : MS-10
- Casa -> Prodotti -> Interruttori di livello Magnetrol : MLS-02
- Casa -> Prodotti -> Interruttori a galleggiante meccanico : MLS-03
- Casa -> Prodotti -> Montaggio laterale Interruttore di livello : DW-01 Explosion-Proof
- Casa -> Prodotti -> Montaggio laterale Interruttore a galleggiante : DW-05
- Casa -> Prodotti -> Montaggio laterale Interruttore di livello a galle : DW-06
- Casa -> Prodotti -> Magnetico Reed : Side Mounting Float Switch
- Casa -> Prodotti -> Sfera galleggiante in acciaio inox : SF series
















