
Interruttore galleggiante meccanico

Specificazioni:
1.Volt di commutazione:250 VAC
2.Corrente di commutazione: 0.7~2A
3.Contatto:NO/NC
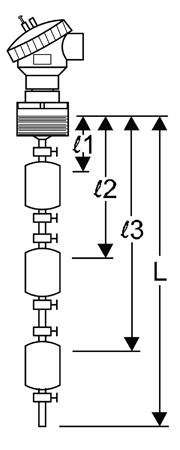
4.Max.Pressione:30 kg/cm²SUS/5 kg/cm²PVC, PVDF, PP
5.Max.Lunghezza:3.000 millimetri
6.Intervallo di temperatura:120°C SUS, PVDF/80°C PP, PVC
7..Materiale del corpo:SUS304/SUS316
8.Collegamento:Flangia/Filetto
Ci sono classificati come esportatore degno di nota e fornitore di una gamma qualitativa di Interruttore di livello a galleggiante.La nostra gamma di prodotti comprende anche del trasmettitore di livello, multipla-Interruttore di livello per liquidi e punto acqua trasmettitore di livello per liquidi.Fornito in diversi formati, il nostro prodotto è dotato di un molto sostenibile.
Il principio di funzionamento di interruttore di livello a galleggiante magnetico è diretto e semplice.Impostare un punto o
Multi-punto di interruttore magnetico in sigillata ONU-metallo magnetico o tubo di plastica industriale.Fissare il
galleggiante con sistema magnetico interno in un certo luogo di interruttore magnetico nel tubo e lasciare che il
galleggiare alla deriva su e giù;utilizzare il sistema magnetico interno nel galleggiante per innescare l'apertura e
chiudere di interruttore magnetico per azionare e controllare il livello del liquido.E 'semplice principio di funzionamento
è stato dimostrato di applicare in misura liquido in varie condizioni di lavoro.E 'flessibile
per produrre 1-6 punti galleggiante come da domanda, quindi ha vantaggio di costo a confronto con altri
tipi di interruttore di livello.Multi-punto di interruttore di livello a galleggiante è ampiamente usato nel controllo di livello e allarme
di tutti i tipi di industria, quali, elettronica di potenza elettrica, chimica, trattamento dell'acqua,
alimentazione e di drenaggio, tintura, macchinari, ecc
- Casa -> Prodotti -> Interruttore di livello a galleggiante magnetico : DL101
- Casa -> Prodotti -> Interruttore di livello Magnetrol : DL102
- Casa -> Prodotti -> Interruttore galleggiante meccanico : DL103
- Casa -> Prodotti -> Interruttore a galleggiante magnetico : DL104
- Casa -> Prodotti -> Interruttori a galleggiante Magnetic : MS-10
- Casa -> Prodotti -> Interruttori di livello Magnetrol : MLS-02
- Casa -> Prodotti -> Interruttori a galleggiante meccanico : MLS-03
- Casa -> Prodotti -> Montaggio laterale Interruttore di livello : DW-01 Explosion-Proof
- Casa -> Prodotti -> Montaggio laterale Interruttore a galleggiante : DW-05
- Casa -> Prodotti -> Montaggio laterale Interruttore di livello a galle : DW-06
- Casa -> Prodotti -> Magnetico Reed : Side Mounting Float Switch
- Casa -> Prodotti -> Sfera galleggiante in acciaio inox : SF series
















